GATE 2017-2018 :: GATE Aeronautical Engineering
-
Consider a supersonic stream at a Mach number M=2, undergoing a gradual expansion. The stream is turned by an angle of 3 degrees due to the expansion. The following data is given.
The Mach number downstream of the expansion is -
The idealized cross-section of a beam is comprised of four identical booms connected by shear webs. The beam is subjected to a bending moment 􀜯 as shown in the figure. The inclination of the neutral axis to the x-axis in degrees is

- A horizontal rectangular plate ABCD is hinged at points A, B and C. AC and BD are diagonals of the plate. Downward force P is applied at D. The upward reactions RA, RB, and RC at points A, B and C, respectively, are
-
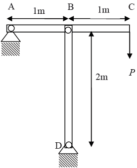
In the steel structure (Young's modulus = 200 GPa) shown in the figure, all members have a circular cross-section of radius 10 mm. Column BD is pinned at B and D. The support at A is hinged. The minimum value of

-
The thin rectangular plate has dimensions L×b×t. It develops a stress field corresponding to an applied bending moment M as shown in the figure. A valid Airy's stress function is

- A cantilever beam of negligible mass is 0.6 m long. It has a rectangular cross-section of width 8 mm and thickness 6 mm and carries a tip mass of 1.4 kg. If the natural frequency of this system is 10 rad/s, Young's modulus of the material of the beam in GPa is ________
-
A simply supported beam with overhang is loaded by uniformly distributed load of intensity q as shown in the figure. The bending moment at the mid-point of AB is

- Thrust of liquid oxygen - liquid hydrogen rocket engine is 300 kN. The O/F ratio used is 5. If the fuel mass flow rate is 12.5 kg/s, the specific impulse of the rocket motor in Ns/kg is
- In a 50 % reaction axial compressor stage, the local blade velocity is 300 m/s and the axial component of velocity is 100 m/s. If the absolute inlet flow angle α1 = 45o, the work per unit mass done on the fluid by the stage in kJ/kg is
- Consider two rockets P and Q fired vertically up with identical specific impulse and a payload of 2 kg. Rocket P has 2 identical stages, and each stage has 200 kg of propellant and 20 kg of structural weight. Rocket Q has a single stage with 400 kg of propellant and 40 kg of structural weight. Neglecting drag and gravity effects, the ratio of the change in velocity of P to that attained by Q is

Whatsapp
Facebook