GATE 2017-2018 :: GATE Mechanical
- Two large diffuse gray parallel plates, separated by a small distance, have surface temperatures of 400 K and 300 K. If the emissivities of the surfaces are 0.8 and the Stefan-Boltzmann constant is 5.67 * 10-8W/m2K4, the net radiation heat exchange rate in kW/m2 between the two plates is
-
A hinged gate of length 5 m, inclined at 30° with the horizontal and with water mass on its left, is shown in the figure below. Density of water is 1000 kg/m3. The minimum mass of the gate in kg per unit width (perpendicular to the plane of paper), required to keep it closed is

- The pressure, temperature and velocity of air flowing in a pipe are 5 bar, 500 K and 50 m/s, respectively. The specific heats of air at constant pressure and at constant volume are 1.005 kJ/kgK and 0.718 kJ/kgK, respectively. Neglect potential energy. If the pressure and temperature of the surroundings are 1 bar and 300 K, respectively, the available energy in kJ/kg of the air stream is
- The probability that a student knows the correct answer to a multiple choice question is 2/3. If the student does not know the answer, then the student guesses the answer. The probability of the guessed answer being correct is 1/4. Given that the student has answered the question correctly, the conditional probability that the student knows the correct answer is
- The solution to the differential equation d2u/dx2 - k du/dx = 0 where k is a constant, subjected to the boundary conditions u(0) = 0 and u(L) = U, is
-
The value of the definite integral
is -
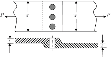
A single riveted lap joint of two similar plates as shown in the figure below has the following geometrical and material details.
width of the plate w = 200 mm, thickness of the plate t = 5 mm, number of rivets n = 3, diameter of the rivet dr = 10 mm, diameter of the rivet hole dh = 11 mm, allowable tensile stress of the plate σp = 200 MPa, allowable shear stress of the rivet σs = 100 MPa and allowable bearing stress of the rivet σc = 150 MPa.If the rivets are to be designed to avoid crushing failure, the maximum permissible load P in kN is -
A single riveted lap joint of two similar plates as shown in the figure below has the following geometrical and material details.
width of the plate w = 200 mm, thickness of the plate t = 5 mm, number of rivets n = 3, diameter of the rivet dr = 10 mm, diameter of the rivet hole dh = 11 mm, allowable tensile stress of the plate σp = 200 MPa, allowable shear stress of the rivet σs = 100 MPa and allowable bearing stress of the rivet σc = 150 MPa.If the plates are to be designed to avoid tearing failure, the maximum permissible load P in kN is -
Water (specific heat, cp = 4.18 kJ/kgK) enters a pipe at a rate of 0.01 kg/s and a temperature of 20°C. The pipe, of diameter 50 mm and length 3 m, is subjected to a wall heat flux qnw in W/m2:If qnw = 2500x, where x is in m and in the direction of flow (x = 0 at the inlet), the bulk mean temperature of the water leaving the pipe in °C is
-
Water (specific heat, cp = 4.18 kJ/kgK) enters a pipe at a rate of 0.01 kg/s and a temperature of 20°C. The pipe, of diameter 50 mm and length 3 m, is subjected to a wall heat flux qnw in W/m2:If qnw = 5000 and the convection heat transfer coefficient at the pipe outlet is 1000 W/m2K, the temperature in °C at the inner surface of the pipe at the outlet is

Whatsapp
Facebook